主要仪器设备
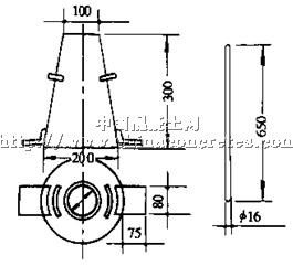
(1)坍落度筒 坍落度筒是由薄钢板或其他金属制成的圆台形筒(见图1)。底面和顶面应互相平行并与锥体的轴线垂直。在筒外2/3高度处安两个把手,下端应焊脚踏板。筒的内部尺寸为:

图1 坍落度筒及捣棒
底部直径(200±2)mm
顶部直径(100±2)mm
高 度(300±2)mm
(2)捣棒(直径16mm,长600mm的钢棒,端部应磨圆)、小铲、尺、拌板、镘刀等。
试验步骤
(1)润湿坍落度筒及其他用具,并把筒放在不吸水的刚性水平底板上,然后用脚踩住两边的脚踏板,使坍落度筒在装料时保持位置固定。
(2)把按要求拌好的混凝土拌合物用小铲分三层均匀地装入筒内,使捣实后每层高度为筒高的1/3左右。每层用捣棒插捣25次。插捣应沿螺旋方向由外向中心进行,各次插捣应在截面上均匀分布。插捣筒边混凝土时,捣棒可以稍稍倾斜。插捣底层时,捣棒应贯穿整个深度,插捣第二层和顶层时,捣棒应插透本层至下一层的表面。浇灌顶层时,混凝土应灌到高出筒口。在插捣过程中,如混凝土沉落到低于筒口,则应随时添加。顶层插捣完后,刮去多余混凝土并用抹刀抹平。
(3)清除筒边底板上的混凝土后,垂直平稳地提起坍落度筒。坍落度筒的提离过程应在5~10s内完成。
从开始装料到提起坍落度筒的整个进程应不间断地进行,并应在150s内完成。
(4)提起坍落度筒后,量测筒高与坍落后的混凝土试体最高点之间的高度差,即为该混凝土拌合物的坍落度值(以mm为单位,结果表达精确至5mm)。
(5)坍落度筒提离后,如试件发生崩坍或一边剪坏现象,则应重新取样进行测定。二次仍出现这种现象,则表示该拌合物的和易性不好,应予记录备查。
(6)测定坍落度后,观察拌合物的下述性质,并记入记录:
1)粘聚性 用捣棒在已坍落的拌合物锥体侧面轻轻击打,如果锥体逐渐下沉,表示粘聚性良好,如果锥体倒坍、部分崩裂或出现离析,即为粘聚性不好。
2)保水性 提起坍落度筒后如有较多的稀浆从底部析出,锥体部分的拌合物也因失浆而骨料外露,则表明保水性不好。如无这种现象,则表明保水性良好。
(7) 出盘的混凝土拌合物按以上进行坍落度试验后得坍落度值H0;立即将全部物料装入铁桶或塑料桶内,用盖子或塑料布密封。存放30min后将桶内物料倒在拌料板上,用铁锹翻拌两次,进行坍落度试验得出30min坍落度值H30;再将全部物料装入铁桶或塑料桶内,用盖子或塑料布密封。存放60min后将桶内物料倒在拌料板上,用铁锹翻拌两次,进行坍落度试验得出30min坍落度值H60。
















